Military Specification Sheet
MIL-S-19622/12F(SH)

Stuffing Tube, Nylon:
Washer, Nonmetallic Retainer

This specification is approved for use by the Naval Sea Systems Command, Department of the Navy, and is available for use by all Departments and Agencies of the Department of Defense.

The requirements for acquiring the product described herein shall consist of this specification sheet and the issue of the following specification listed in that issue of the Department of Defense Index of Specifications and Standards (DODISS) specified in the solicitation: MIL-S-19622.

INCH-POUND
MIL-S-19622/12F(SH)
24 June 1986
DOWNLOAD:
SUPERSEDING
MIL-S-19622/12E(SHIPS)
16 November 1970

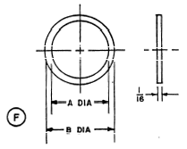
(F) FIGURE 1. Dimensions and configuration

(F) denotes changes.


(F) TABLE I. Size Selection
Tube
Size
Military
Part
No.
Dimensions 1/ 2/ Superseded
part
number
A
DIA
B
DIA
1 M19622/12 -0001 0.216 0.550 MS16172-65
-0002 .273 .550 -66
-0003 .330 .550 -67
2 -0004 .369 .615 -68
-0005 .403 .615 -69
-0006 .435 .615 -70
-0007 .475 .615 -71
(F) 3/ -0038 .513 .615 -72
3 -0008 .513 .755 -72A
4
or
4T
-0009 .544 .896 -73
-0010 .580 .896 -74
-0011 .616 .896 75
-0012 .670 .896 -76
-0013 .715 .896 -77
-0014 .762 .896 -78
(F) 3/ -0037 .805 .896 -79
5 -0015 .805 1.333 -79A
-0016 .855 1.333 -80
-0017 .893 1.333 81
-0018 .919 1.333 -82
-0019 .981 1.333 -83
-0020 1.005 1.333 -84
-0021 1.084 1.333 -85
-0022 1.118 1.333 -86
-0023 0.180 1.333 -87
 
Tube
Size
Military
Part
No.
Dimensions 1/ 2/ Superseded
part
number
A
DIA
B
DIA
6 M19622/12 -0041 0.826 1.333 --
-0042 .866 1.740 --
-0039 .952 1.740 --
-0040 1.002 1.740 --
-0024 1.266 1.740 MS16171-88
-0025 1.371 1.740 -89
-0026 1.429 1.740 -90
-0027 1.485 1.740 -91
7 -0028 1.515 1.927 -92
-0029 1.583 1.927 -93
8 -0030 1.830 2.302 -95
-0031 2.069 2.302 -96
9 -0032 2.147 3.240 -97
-0033 2.441 3.240 -98
-0034 2.541 3.240 -99
-0035 2.666 3.240 -100
-0036 2.822 3.240 -101

(F) 1/ Dimensions are in inches.

2/ Tolerance shall be as follows:

Decimals - Plus or minus 0.010.
Fractions - plus or minus 1/64.

3/ For replacement in existing installations. Not to be used for new construction.

(G) Requirement:

Marking. Tube size in 1/8 inch high raised letters molded on face or may be stamped with ink solution of contrasting color.

AMSC N/A

FSC 5975

DISTRIBUTION STATEMENT A

Approved for public release; distribution is unlimited

 

Preparing activity: Navy - SH (Project 5975-N612-12)


Dorn Equipment Corporation
27 Upham Street • Melrose, MA 02176 • Tel: 781-662-9300 • Fax: 781-665-0180 • dornequipment.com
© MMXII Dorn Equipment Corporation • Web design by DreamLight.com