Military Specification Sheet
MIL-R-2726/50C(SH)
 |
Receptacle, Plug, Electrical,
15-Ampere, 125/250-Volts, 2-Pole, Grounded
(Symbol No. 720.3)
|
This specification is approved for use by the Naval Sea Systems Command, Department of the Navy, and is available for use by all Departments and Agencies of the Department of Defense.
The requirements for acquiring the product described herein shall consist of this specification and the latest issue of MIL-R-2726.
|
| INCH-POUND |
MIL-R-2726/50C(SH)
3 July 1986
DOWNLOAD:  |
SUPERSEDING
MIL-R-2726/50B(SHIPS)
9 October 1970 |
|
|
 |
|
(C) Assembly part number M2726/50-001
NOTES:
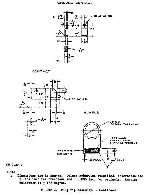
- Dimensions are in inches. Unless otherwise specified, tolerances are +/- 1/64 inch for fractions and +/- 0.005 inch for decimals. Angular tolerance is +/- 1/2 degree.
- Supersedes: MS17791
|
|
FIGURE 1. Plug assembly.
(C) denotes changes.
|
 |
 |
 |
 |
(C) REQUIREMENTS:
- Dimensions and configuration: See figures 1, 2, 3 and 4.
- Effectiveness of enclosure: Watertight in accordance with MIL-STD-108 when coupled with mating receptacle.
- Strain relief: 30 pounds.
- Material:
Body polyamide (nylon)
Packing cap - MIL-S-19622/10, part number MIL-S-19622/10-0002.
Packing bushing - neoprene.
Gasket - rubber in accordance with MIL-R-900.
Plug tip assembly - molded phenolic, type MFG (brown) in accordance with MIL-M-14.
Terminal screw - brass, panhead.
Sleeve - brass.
Contact terminals - copper.
Washers - polyamide (Nylon).
- Packing assemblies: MIL-R-2726/50-004-1, MIL-R-2726/50-004-2 and MIL-R-2726/50-004-3 shall be furnished. User shall select size that most nearly fits the cable as shown on figure 4.
- Mating receptacle: MIL-R-2726/47-002; MIL-R-2726/48-001 (not furnished).
- Test cables: Type C0-03H0F (3/16) in accordance with MIL-C-3432 - use with M2726/50-004-1 (not furnished).
In accordance with MIL-C-24643 and MIL-C-24643/3 - use with M2726/50-004-2 (not furnished).
Type CO-03H0F (3/14) in accordance with MIL-C-3432 - use with M2726/50-004-03 (not furnished).
- Design: Binding head screws may be used. The screw for the ground contact terminal shall be finished in a distinctive green color. Individual pathways through the contact insulation shall be provided to each contact of ample size to accept the insulated conductors.
- Standard "GO" and "NO-GO" gauges shall be used for gauging the 29/32-27 NS-2 threads of body and sleeve.
- Instruction sheet: An instruction sheet, (on paper 4-3/4 by 4-3/4 inches) with the information as shown on figure 4 shall be furnished with each plug.
- Electrical rating: 15-amperes, 125/250-volt.
- Part number: M2726/50-0001 (receptacle, plug), M2726/50-002 (plug tip replacement)
.
(C) QUALITY ASSURANCE:
Quality assurance shall be as specified in MIL-R-2726 and table I herein. The first article and quality conformance inspections shall consist of the inspections as specified in table 1, in the order shown .
| TABLE I. First article and quality conformance inspection. |
| Inspection |
Requirement |
Test method |
First
article
|
Quality
conformance
|
| Examination |
3.1, 3.3, 3.4, 3.5, 3.6 and 3.7 |
4.6.1 |
X |
X |
| Insulation resistance |
3.5.1 |
4.7.1 |
X |
X |
| Dielectric withstanding voltage |
3.5.2 |
4.7.2 |
X |
X |
| Contact resistance |
3.5.3.1 |
4.7.3.1 |
X |
X |
| Endurance |
3.5.5 |
4.7.5 |
X |
|
| Salt spray |
3.5.11 |
4.7.11 |
X |
|
| Contact resistance |
3.5.3.1 |
4.7.3.1 |
X |
|
| Current load |
3.5.12 |
4.7.12 |
X |
|
| Vibration |
3.5.9 |
4.7.9 |
X |
|
| Shock |
3.5.10 |
4.7.10 |
X |
|
| Effectiveness of enclosure |
3.5.4 |
4.7.4 |
X |
X |
| Dielectric withstanding voltage |
3.5.2 |
4.7.2 |
X |
|
| Mechanical abuse |
3.5.8 |
4.7.8 |
X |
|
| Ball drop impact |
3.5.15 |
4.7.15 |
X |
|
| Strain relief |
3.5.7 |
4.7.7 |
X |
|
|
|
AMSC N/A
|
FSC 5935
|
|
DISTRIBUTION STATEMENT A
|
Approved for public release; distribution is unlimited
|
| |
Preparing activity: Navy - SH (Project 5935-N255-51)
|
|
|

Dorn Equipment Corporation
27 Upham Street Melrose, MA 02176 Tel: 781-662-9300 Fax: 781-665-0180 dornequipment.com
© MMXII Dorn Equipment Corporation Web
design by DreamLight.com
|